多级泵 LG、LG-B型高层建筑多级给水泵
发布时间 2015-05-06 10:20:50
产品描述
【LG、LG-B型高层建筑多级给水泵】产品:

【LG、LG-B型高层建筑多级给水泵】产品简介:
LG、LG-B型高层建筑多级给水泵(简称:多级泵)是根据高层建筑恒压供水及消防行业的实际需要开发的新一代给水产品。该泵采用国内优秀的水力模型,经精心设计,效率高、性能稳定、噪音低、使用寿命长、外型美观、占地面积少、维修方便、重量轻等优点。
LG、LG-B型高层建筑多级给水泵由电机和泵联结而成,泵轴与电机轴用夹壳式联轴器联结,确保泵与电机**同轴使泵运行平稳、噪音低等现象。电机为Y型三相异步电机,方便用户更换,整体为刚性连接,使用时无需校正。轴封采用机械密封,泵为便拆式结构方便更换机械密封。
LG、LG-B型高层建筑多级给水泵旋转方向从电机端向下看为顺时针方向转动。
【LG、LG-B型高层建筑多级给水泵】型号意义:
.jpg)
【LG、LG-B型高层建筑多级给水泵】产品特点:
1、LG、LG-B型高层建筑多级泵结构紧凑、体积小、外形美观,其结构决定安装占地面积小,如加上防护罩可置于户外使用。
2、叶轮直接安装在电机轴上,从而保证泵的同心度,因而增强了泵的运行稳定性和延长泵的使用寿命。
3、轴封采用机械密封或机械密封的组合,采用优质的质合金密封环,增强了密封的耐磨性能有效地延长寿命。
4、安装检修方便,无需拆动管路系统。泵进口和出口为相同口径,简化了管路的连接。
5、可根据流量和扬程的需要采用泵的串、并联运行方式。
6、可根据需要,吸入口和吐出口可安装成0°、90°、180°、270°几个不同方向以满足不同的连接场合。
7、泵扬程可根据需要增减水泵级数并结合切割叶轮外径予以满足,而不改变安装占地面积。
【LG、LG-B型高层建筑多级给水泵】使用条件:
1、LG、LG-B型高层建筑多级泵使用的介质应类似水,运动粘度<150mm2/s,且无坚硬颗粒,无腐蚀性质;
2、LG、LG-B型高层建筑多级泵使用的环境海拔高度<1000米,超过时应在订货时提出,以便为您提供更为可靠的产品;
3、介质使用温度-15℃~105℃;
4、**大系统工作压力≤2.5MPa;
5、周围环境温度应低于40℃,相对湿度低于95%。
【LG、LG-B型高层建筑多级给水泵】产品用途:
LG、LG-B型高层建筑多级泵特别适用于住宅、宾馆、办公大楼等高层建筑恒压供水、消防、喷淋给水设备配套用泵;也适用于化工流程冷却塔的自动补水;系统稳压、生产工艺循环用水、远距离输送、锅炉给水等给水设备之用。可输送的液体为常温(<80℃)(热水型可输送温度小于105度的介质)清水或物理、化学性质类似于水的常温介质。
【LG、LG-B型高层建筑多级给水泵】结构说明:
1、LG-B型立式多级离心泵结构紧凑,体积小,外形美观,占地面积小,节省建筑费用;
2、LG-B型立式多级离心泵的吸入口和出水口在同一中心线上,简化管路的连接;
3、根据实际情况,泵的进出口可装配成90°、180°、270°不同的方向;
4、根据实际情况,泵的出口可装配成1~5个出口,以满足同一台泵上获得不同的扬程。
【LG、LG-B型高层建筑多级给水泵】结构图:
|
|
序号 |
名称 |
材料或型号 |
序号 |
名称 |
材料或型号 |
|
1 |
电机 |
Y系列(V5)2极 |
9 |
轴套 |
Q235 |
|
|
2 |
电机架 |
HT200 |
10 |
中段 |
HT200 |
|
|
3 |
联轴器 |
HT200 |
11 |
导叶 |
HT200 |
|
|
4 |
机封压盖 |
HT200 |
12 |
叶轮 |
HT200 |
|
|
5 |
放气阀 |
铜合金 |
13 |
轴 |
45或2Cr13 |
|
|
6 |
机械密封 |
120A |
14 |
轴承 |
锡青铜 |
|
|
7 |
末导叶 |
HT200 |
15 |
进水段 |
HT200 |
|
|
8 |
出水段 |
HT200 |
|
|
|
【LG、LG-B型高层建筑多级给水泵】性能参数及外形尺寸:
|
型号 |
级数 |
流量 |
扬程 |
转速 |
电机功率 |
效率 |
重量 |
必需汽蚀余量 |
外形尺寸 |
|
|
(m3/h) |
(M) |
(r/min) |
(kw) |
(%) |
Kg |
(NPSH)r(m) |
H |
H2 |
||
|
25LG(R)3-10 |
2 |
2.4 3 4.7 |
20 |
2900 |
0.75 |
38 42 44 |
70 |
2.0 |
630 |
180 |
|
3 |
30 |
1.1 |
74 |
2.0 |
670 |
220 |
||||
|
4 |
40 |
1.5 |
85 |
2.0 |
740 |
260 |
||||
|
5 |
50 |
1.5 |
89 |
2.0 |
780 |
300 |
||||
|
6 |
60 |
2.2 |
100 |
2.0 |
845 |
340 |
||||
|
7 |
70 |
2.2 |
104 |
2.0 |
885 |
380 |
||||
|
8 |
80 |
2.2 |
108 |
2.0 |
925 |
420 |
||||
|
9 |
90 |
2.2 |
112 |
2.0 |
965 |
460 |
||||
|
10 |
100 |
3 |
125 |
2.0 |
1040 |
500 |
||||
|
11 |
110 |
3 |
129 |
2.0 |
1080 |
540 |
||||
|
12 |
120 |
4 |
145 |
2.0 |
1140 |
580 |
||||
|
13 |
130 |
4 |
149 |
2.0 |
1080 |
620 |
||||
|
14 |
140 |
4 |
153 |
2.0 |
1220 |
660 |
||||
|
15 |
150 |
4 |
157 |
2.0 |
1260 |
700 |
||||
|
32LG(R)6.5-15 |
2 |
4.5 6.5 9.5 |
30 |
2900 |
1.5 |
47 53 50 |
90 |
2.4 |
665 |
179 |
|
3 |
45 |
2.2 |
100 |
2.4 |
740 |
229 |
||||
|
4 |
60 |
3 |
115 |
2.4 |
825 |
279 |
||||
|
5 |
75 |
4 |
135 |
2.4 |
895 |
329 |
||||
|
6 |
90 |
4 |
142 |
2.4 |
945 |
379 |
||||
|
7 |
105 |
5.5 |
175 |
2.4 |
1070 |
429 |
||||
|
8 |
120 |
5.5 |
182 |
2.4 |
1120 |
479 |
||||
|
40LG(R)12-15 |
2 |
9 12 18 |
30 |
2900 |
2.2 |
55 60 63 |
90 |
2.9 |
710 |
199 |
|
3 |
45 |
3 |
105 |
2.9 |
800 |
257 |
||||
|
4 |
60 |
4 |
130 |
2.9 |
880 |
315 |
||||
|
5 |
75 |
5.5 |
155 |
2.9 |
1015 |
373 |
||||
|
6 |
90 |
5.5 |
163 |
2.9 |
1075 |
431 |
||||
|
7 |
105 |
7.5 |
180 |
2.9 |
1130 |
489 |
||||
|
8 |
120 |
7.5 |
190 |
2.9 |
1190 |
547 |
||||
|
型号 |
级数 |
流量 |
扬程 |
转速 |
电机功率 |
效率 |
重量 |
必需汽蚀余量 |
外形尺寸 |
|
|
(m3/h) |
(M) |
(r/min) |
(kw) |
(%) |
Kg |
(NPSH)r(m) |
H |
H2 |
||
|
50LG24-20 |
|
18.0 24.0 30.0 |
40 |
2900 |
5.5 |
67 69 64 |
160 |
3.2 |
865 |
216 |
|
3 |
60 |
7.5 |
180 |
3.2 |
930 |
281 |
||||
|
4 |
80 |
11.00 |
250 |
3.2 |
1145 |
346 |
||||
|
5 |
100 |
11.00 |
260 |
3.2 |
1210 |
411 |
||||
|
6 |
120 |
15.0 |
280 |
3.2 |
1275 |
476 |
||||
|
65LG(R)36-20 |
2 |
27 36 43 |
40 |
2900 |
7.5 |
70 72 67 |
170 |
3.4 |
905 |
249 |
|
3 |
60 |
11 |
230 |
3.4 |
1120 |
314 |
||||
|
4 |
80 |
15 |
250 |
3.4 |
1185 |
379 |
||||
|
5 |
100 |
18.5 |
280 |
3.4 |
1295 |
444 |
||||
|
6 |
120 |
22.0 |
330 |
3.4 |
1390 |
509 |
||||
|
80LG40-20 |
2 |
30 40 52 |
40 |
2900 |
7.5 |
70 73 68 |
235 |
3.4 |
965 |
301 |
|
3 |
60 |
11.0 |
260 |
3.4 |
1195 |
379 |
||||
|
4 |
80 |
15.0 |
290 |
3.4 |
1270 |
457 |
||||
|
5 |
100 |
18.5 |
345 |
3.4 |
1395 |
535 |
||||
|
6 |
120 |
22.0 |
410 |
3.4 |
1505 |
613 |
||||
|
100LG72-20 |
|
54 72 90 |
40 |
2900 |
11.0 |
70 73 68 |
260 |
3.5 |
1145 |
331 |
|
3 |
60 |
18.5 |
290 |
3.5 |
1275 |
416 |
||||
|
4 |
80 |
22.0 |
380 |
3.5 |
1390 |
501 |
||||
|
5 |
100 |
30.0 |
450 |
3.5 |
1570 |
586 |
||||
|
6 |
120 |
37.0 |
470 |
3.5 |
1655 |
671 |
||||
|
7 |
140 |
45.0 |
520 |
3.5 |
1800 |
756 |
||||
|
8 |
160 |
45.0 |
540 |
3.5 |
1885 |
841 |
||||
|
9 |
180 |
55.0 |
|
3.5 |
|
|
||||
【LG、LG-B型高层建筑多级给水泵】安装尺寸:

|
型号 |
L |
h |
B |
b |
n-фd |
进口法兰 |
出口法兰 |
||||||
|
DN |
D |
D1 |
n-фd |
DN |
D |
D1 |
n-фdc |
||||||
|
25LG |
130 |
85 |
230 |
190 |
4-ф18 |
25 |
115 |
85 |
4-ф12 |
25 |
115 |
85 |
4-ф14 |
|
32LG |
145 |
63 |
260 |
220 |
4-ф18 |
32 |
140 |
100 |
4-ф16 |
32 |
140 |
100 |
4-ф18 |
|
40LG |
145 |
70 |
260 |
220 |
4-ф18 |
40 |
150 |
110 |
4-ф16 |
40 |
150 |
110 |
4-ф18 |
|
50LG |
180 |
80 |
300 |
248 |
4-ф23 |
50 |
165 |
125 |
4-ф16 |
50 |
165 |
125 |
4-ф18 |
|
65LG |
180 |
90 |
300 |
248 |
4-ф23 |
65 |
185 |
145 |
4-ф16 |
65 |
185 |
145 |
4-ф18 |
|
80LG |
187 |
112 |
315 |
272 |
4-ф23 |
80 |
200 |
160 |
8-ф16 |
80 |
200 |
160 |
8-ф18 |
|
100LG |
187 |
122 |
315 |
272 |
4-ф23 |
100 |
220 |
180 |
8-ф16 |
100 |
220 |
180 |
8-ф18 |
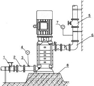
【LG、LG-B型高层建筑多级给水泵】安装方法:
|
刚性连接
|
柔性连接
|
||||||||||||||||
|
1 |
球阀 |
2 |
挠性接头 |
3 |
取压直管 |
4 |
真空压力表 |
1 |
球阀 |
2 |
挠性接头 |
3 |
取压直管 |
4 |
闸阀 |
5 |
弯管 |
|
5 |
闸阀 |
6 |
止回阀 |
7 |
压力表 |
8 |
水泥台座 |
6 |
泵 |
7 |
联接板 |
8 |
JGD型隔振器 |
9 |
水泥台座 |
10 |
泵 |
【LG、LG-B型高层建筑多级给水泵】安装:
1、安装前应检查有无杂质在泵的流道内。
2、LG、LG-B型立式多级泵安装位置应尽可能靠近水源处。
3、LG、LG-B型立式多级泵与底座安装有两种方式,一种直接装在水泥基础上的刚性连接,另一种是采用JGD型减振器安装的柔性连接,具体方法见安装示意图所示。
4、直接安装中将泵放在基础上垫高30~40毫米(准备充填水泥浆之用),然后进行校正,并穿好地脚螺栓,充填水泥砂浆,经3~5开水泥干涸后,重新校正,待水泥完全干涸后,拧紧地脚螺栓的螺母。
5、安装管路时,进、出水管路都应有各自的支承,不应使LG、LG-B型立式多级泵的法兰承受过大的管路重量。
6、LG、LG-B型立式多级泵用于有吸程场合,进水管端应装有底阀,并且进口管路不应有过多弯道。同时不得有漏水、漏气现象存在
7、在进口管路上**好装在过滤网,以防杂质进入叶轮内部。滤网的有交面积应是进水管面积3~4倍,以保证液体的自由畅通。
8、为了维护和使用方便安全,在泵的进口管路上安装一只球阀和在泵出口附近安装一只压力表,并在压力表前面安装一只自位阀(防水锤),以保证泵在额定范围内运行,确保泵的正常运行和使用寿命。
9、进口如需扩径连接,请选用偏心异径管道接头。
【LG、LG-B型高层建筑多级给水泵】起动、运转与停车:
一、起动
1、LG、LG-B型立式多级泵用于有吸程场合,即进口为负压时,应先向进口路中进行灌水排气或用真空泵引水,使水充满整个泵和进口管路,注意进口管路必须密封,不得有漏气现象存在。
2、关闭出口管上的闸阀及压力计旋塞,以减小起动电流。
3、用手转动转子几圈,使轴承润滑并检查泵内叶轮和密封环动转有无碰擦,如转不动,不应起动,直至找出故障原因为止。
4、试起动,
电机转向应和泵上的箭头指向一致,打开压力计旋塞。
5、当转子达到正常运转后,压力计显示出压力时,逐渐打开出口闸阀,调节至所需工况。
二、运转
1、LG、LG-B型立式多级泵在运转时,必须注意观察仪表读数,尽量使泵在铭牌规定的流量扬程附近工作,严防大流量运行。
2、定时检查电机电流值不应超过额定电流。
3、LG、LG-B型立式多级泵的轴承温度不得高于75℃
,并不得超过外界温度35℃。
4、易损件磨损过不应及时更换。
5、发现异常现象,立即停机检查原因。
三、停车
1、关闭出水管路上的闸阀,关闭真空表旋塞。
2、停止电机,然后关闭压力计旋塞。
3、如有冬季寒冷季节,应将泵内液体放尽,以免冻裂。
4、长期停止使用,应将泵拆卸,清洗上油,妥善保管。
【LG、LG-B型高层建筑多级给水泵】维修与保养:
运行中的维护和保养
1、进水管路必须高度密封,不能漏水、漏气;
2、禁止LG、LG-B型立式多级泵在汽蚀状态下长期运行;
3、禁止LG、LG-B型立式多级泵在大流量工况运行时,电机超电流长期运行;
4、定时检查LG、LG-B型立式多级泵运行中的电机电流值,尽量使泵在设计工况范围内运行;
5、LG、LG-B型立式多级泵在运行中应有专人看管,以免发生意外;
6、LG、LG-B型立式多级泵每运行500小时应对轴承进行加油;
7、LG、LG-B型立式多级泵进行长期运行后,由于机械磨损,使机组噪声及振动增大,应停车检查,必要进可更换易损零件及轴承,机组大修期一般为一年。
机械密封的维护与保养
1、机械密封润滑液应清洁无固体颗粒;
2、严禁机械封在干磨情况下工作;
3、起动前应盘动泵(电机)几圈,以免突然起动造成机械密封断裂损坏。
泵的装配和拆卸指导
(一)部件的组装
1、将轴承、底盖装在进水段上;
2、将轴套装在主轴的下端,并用螺钉固定;
3、将导叶装进中段,末导叶装进出水段;
(二)总装
1、先将主轴装入进水段的轴承内;
2、再将**个叶轮进口向下套进主轴上,直至叶轮的进口与进水段配合,转动主轴是否轻快;
3、在主轴上套进一个轴套,直至与叶轮相碰;
4、将中段(已装好导叶)套进主轴并与进水段配合;
5、继续2、3、4直至完成N-1级的中段装配;
6、将**后一个叶轮进口向下套进主轴上,直至叶轮的进口与中段配合,转动主轴是否轻快;
7、垫上锁紧垫片并锁紧;
8、拧紧主轴锁紧螺母;
9、将出水段(装好末导叶)套进主轴并与中段配合;
10、旋入四根拉紧螺杆,并拧紧;
11、装上机封,并盖上机封压盖;
12、装上电机机架、电机、联轴器;
13、LG、LG-B型立式多级泵的诉卸过程按上述相反步骤进行。
(三)注意事项
1、装配过程中不能损坏密封纸垫;
2、所有的配合面必须干净,无任何颗粒;
3、机械的端面应小涂润滑没并对中。
【LG、LG-B型高层建筑多级给水泵】故障原因及排除方法:
|
故障现象 |
可能产生的原因 |
排除方法 |
||||||||||||
|
水泵不吸水压力表和 |
|
|
||||||||||||
|
水泵不吸水真空表 |
|
|
||||||||||||
|
压力表有压力 |
|
|
||||||||||||
|
达不到设计流量 |
|
|
||||||||||||
|
泵消耗功率过大 |
|
|
||||||||||||
|
泵振动加大 |
|
|
声明:由于产品一直在更新,本文中所有文字、数据、图片均只适用于参考,LG、LG-B型高层建筑多级给水泵性能参数、LG、LG-B型高层建筑多级给水泵使用场合、LG、LG-B型高层建筑多级给水泵材质要求、LG、LG-B型高层建筑多级给水泵结构、LG、LG-B型高层建筑多级给水泵安装尺寸以及LG、LG-B型高层建筑多级给水泵的价格等详情,我们一定会尽心尽力为您提供优质的服务。
相关多级泵系列产品:
D、DG型卧式分段式多级泵,GDL型立式管道式多级泵,TSWA型卧式清水多级泵,D型卧式分段式清水多级泵,DL型立式清水多级泵,CHLF型卧式不锈钢分段式多级泵,CHL型卧式轻型不锈钢多级泵(圆筒式),CDLF型立式不锈钢多级泵,LG、LG-B型高层建筑多级给水泵,GC型卧
.jpg)

.jpg)

.jpg)
