四川ZW32-12 630电杆上高压真空断路器带隔离刀闸
发布时间 2015-05-11 10:02:56
产品描述
四川ZW32-12/630电杆上高压真空断路器带隔离刀闸
ZW32-12/630型户外真空断路器(以下简称断路器)为额定电压12kv。三相交流50hz的户外配电设备。主要用于开断、关合电力系统中的负荷电流、过载电流及短路电流。适用于变电站及工矿企业配电系统中作保护和控制之用,及农村电网频繁操作的场所。 奔断路器具有体积小,重量轻,防凝霜、免凝霜、免维护等特点,能适应较恶劣的气候条件和污秽环境。
主要技术参数
| 序号 | 项目 | 单位 | 参数 |
| 1 | 额定电压 | kv | 12 |
| 2 | 额定频率 | HZ | 50 |
| 3 | 额定电流 | A | 630 |
| 4 | 额定短路开断电流 | KA | 20 |
| 5 | 额定峰值耐受电流(峰值) | KA | 50 |
| 6 | 额定短时耐受电流 | KA | 20 |
| 7 | 额定短路关合电流(峰值) | KA | 50 |
| 8 | 机械寿命 | 次 | 10000 |
| 9 | 额定短路开断电流开断次数 | 次 | 30 |
| 10 | 工频耐受电压(1min):(湿)(干)相间、对地/断口 | kv | 65/79 |
| 11 | 雷电冲击耐受电压(峰值)相间、对地/断口 | kv | 125/145 |
| 12 | 二次回来1min工频耐压 | kv | 2 |


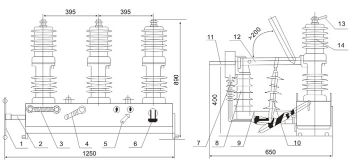
外形及安装尺寸图

1.上出线 4.下出线 7.绝缘拉杆 10.驱动连板 13.机构箱 2.灭弧室
5.导电夹 8.触头压力簧 11.机构输出轴 14.电力互感器 3.绝缘筒 6.软联结
9.分闸弹簧 12.操动机构

西安天正电力科技有限公司成都分公司
进入店铺
在线留言
| 联系人 | 匡经理 |
|---|---|
| 联系电话 | 028-87750044 18080900044 |
| 地址 | 成都市金牛区蜀跃东路138号 |
| 邮箱 | 404939063@qq.com |